歡迎來到 濟南中創工業測試系統有限公司
您現在所在位置:首頁 >> 產品展示 >> 行業列表 >> 管材管道行業檢測設備
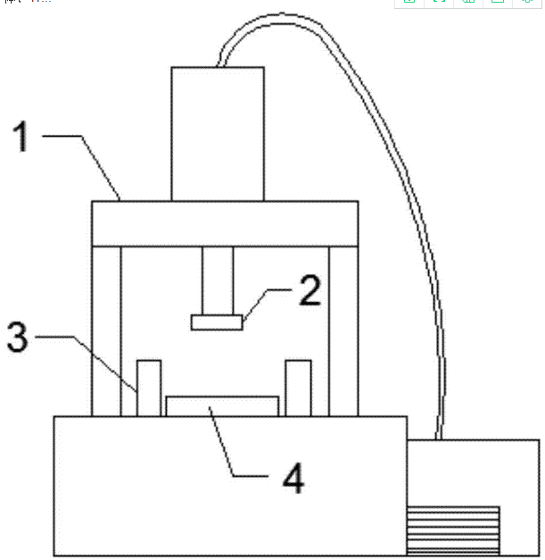
產品介紹:
鍍鋅鋼管壓扁試驗機主要適用于鍍鋅鋼管的壓扁、壓縮破壞、承載力、壓縮負荷等力學性能測試。可實現定距離壓扁和閉合壓扁兩種試驗方式。
軟件特點:
鍍鋅鋼管壓扁試驗機控制軟件可根據需要設置壓扁高度,等速或恒應力加載,更直觀的體現鋼管在受力狀態下的變化,高精度位移傳感器測量變形量。
鍍鋅鋼管進行壓扁試驗時,采用液壓機進行下壓試驗,由于鍍鋅鋼管的直徑大小不一,普通的限位裝置,適用性較差,不能滿足需要;而如果不采用限位裝置,經常會造成鋼管的頂端中心與壓頭的中心不在同一豎直線上,造成壓頭壓力的偏心,長時間如此使用后會嚴重影響到試驗機的使用壽命。
技術參數:
比較大試驗力(kN) 3000
試驗力測量范圍 比較大試驗力的2%-100%
試驗力示值相對誤差 ≤示值的±1%
等速應力控制范圍(N/mm2·S-1) 1-10
應力速率誤差 ≤±5%
上下壓盤比較大距離(mm) 660
上、下壓盤尺寸(mm) 500x1000
活塞行程(mm) 0-600
活塞空載上升比較大速度(mm/ min) 約200
立柱凈間距(mm) 450
油泵電動機功率(kW) 3(加載油泵電機)+1.5(輔助油泵電機)
試驗機主機外形尺寸(長x寬x高)(mm) 1800×850×2000
電控柜柜外形尺寸(長x寬x高)(mm) 600×480×960
主機質量(kg) 約7000

銷售總機:0531-85990007 傳真:+86-531-85997770
郵箱:jnzcgy@163.com Skype:jnzcgy_zjc@hotmail.com
售后電話:0531-62302272 售后:jnzcgy_service@163.com
地址:山東省濟南市槐蔭經濟開發區西沙路690號
版權所有:濟南中創工業測試系統有限公司 | 魯ICP備10018659-1號